728x90
반응형
마이크로서비스와 컨테이너의 부상으로 앱 개발자는 여러 클라우드 제공업체의 서비스에 액세스해 앱을 개발할 수 있게 됐다. 대부분의 현대 클라우드 네이티브 앱은 이와 같은 방식으로 구축된다. 또한 에지 컴퓨팅이 떠오르면서 앱 개발자가 데이터와 앱 서비스에 대한 액세스를 확장할 수 있는 위치가 더욱 많이 생성된다. 이것이 클라우드가 더 이상 단일 위치가 아니라 분산된 리소스 집합이 되는 분산 클라우드의 개념이다.






앱 구성요소(예: 마이크로서비스)는 모듈형이며 여러 클러스터에 걸쳐 컨테이너에 위치한다. 이는 데브옵스 팁과 IT 전문가에게 배포와 운영 측면에서 큰 과제가 된다. 고도로 분산된 클러스터 및 워크로드에 필요한 동적 운영 모델과 달리 중앙 통제와 가시성에 의존하는 모놀리식 앱에 일반적으로 사용되는 물리적 인프라와 가상 인프라는 컨테이너화된 워크로드와 마이크로서비스의 동적이고 분산된 특성을 지원하지 않는다. 컨테이너화된 워크로드는 분, 심지어 초 단위로 만들고 해체할 수 있다. 이 말은 로드 밸런서, 웹 앱 방화벽, API 게이트웨이와 같은 네트워크 및 보안 인프라에 대한 지원도 그만큼 빠르게 가동하고 해체해야 함을 의미한다.
분산 클라우드의 운영 요건 충족
여러 클러스터에 걸쳐 클러스터별로 여러 가상 어플라이언스를 배포할 필요 없이 볼트메시는 분산 클러스터에 손쉽게 배포가 가능하며 중앙 관리, 엔드 투 엔드 가시성, 정책 제어를 포함한 통합 서비스 스택을 제공한다. 데브옵스는 SaaS 기반 서비스의 속도와 편재성을 활용해서 분산 클라우드 네이티브 애플리케이션의 배포 속도를 높이고 운영을 간소화할 수 있으며, 개발자는 개발 장소와 방법 측면에서 더 높은 자유를 얻으므로 코드 통합과 민첩성을 개선할 수 있다. 볼트메시는 모든 주요 클라우드 제공업체의 클러스터와 프라이빗 클라우드 및 에지 사이트에 배포가 가능하다. 또한 볼테라는 클라우드 네이티브 앱의 성능과 보안을 개선하기 위한 자체 애플리케이션 제공 네트워크(ADN)를 통해 볼테라의 프라이빗 네트워크에 직접, 그리고 최종 사용자에게 더 가깝게 애플리케이션을 호스팅한다.
보안 측면에서도 많은 의미가 있다. 앱 개발자들이 마이크로서비스에서 클라우드 네이티브 앱을 구축하는 방식으로 전환하면서 임베디드 API와 보이지 않는 API로 인한 새로운 위협이 발생하고 있다. 앱당 API의 수가 폭증하면서 애플리케이션 내부의 트래픽도 증가한다. 세그먼테이션, 나아가 마이크로 세그먼테이션과 같은 보안 방식은 네트워크 계층에서 작동하므로 API 계층에 대해서는 알 수 없다. 즉, 데브옵스와 데브섹옵스 팀은 제로 트러스트 모델의 초점을 네트워크에서 API 계층으로 옮겨야 한다. 여기에는 모든 API를 “직접 보면서” API에 정책을 적용하는 역량도 포함된다.
○ 제개정일 : 2017-12-13
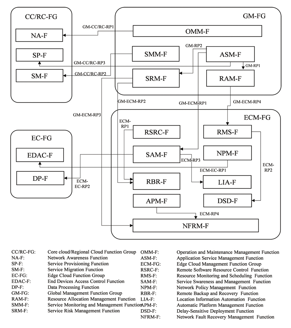
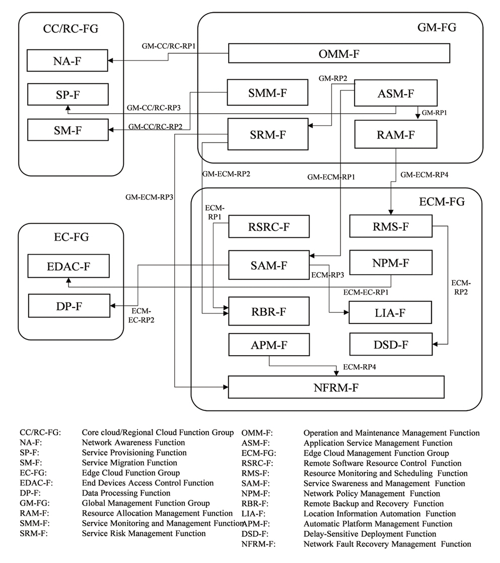
본 표준은 분산 클라우드 환경을 설명하기 위한 분산 클라우드의 개념, 정의, 요구사항을 제시한다.
첫 번째로 분산 클라우드 개념 및 정의를 제시한다.
두 번째로 분산 클라우드 배치 모델 및 모델에 대한 예제를 제시한다.
세 번째로 분산 클라우드 장점을 제시하고 유스케이스를 통해 분산 클라우드를 상징적으로 나타낼 수 있는 고수준(High-level) 요구사항을 도출한다.
부록으로 유스케이스를 수록하고 있다.
분산 클라우드의 개념, 정의, 및 고수준 요구사항을 제시한다. 표준을 설명하기 위하여 유스케이스를 부록으로 첨부
728x90
'05.Network' 카테고리의 다른 글
| 6G - 핵심기술 - 초대규모 다중입출력 MIMO (Extreme massive MIMO: E-MIMO) (0) | 2024.08.29 |
|---|---|
| 6G - IMT-2030 프레임워크 (0) | 2024.08.22 |
| 양자 - 양자 인터넷 (0) | 2024.04.15 |
| 5G (0) | 2024.03.30 |
| 자동차 - 자율주행 자동차 - 센서 및 통신기술 - C-V2X (1) | 2024.03.21 |


